我司2014年度在广州公共资源交易中心各项排行成绩优异,诚信综合评价业绩分数为79分,排名第一。招标代理总金额为292亿元,排名第一。房建类代理金额为96亿元,排名第一。铁路-城际轨道招标代理金额为121亿元,排名第一。民航代理金额为13.5亿元,排名第一。电力代理金额为13.7亿元,排名第四。

 

排名来源:广州公共资源交易中心

 

一、广州市企业诚信综合评价排行

义招标排行第一名

 

二、2014年年度招标代理金额排行

国义招标排行第一名

 

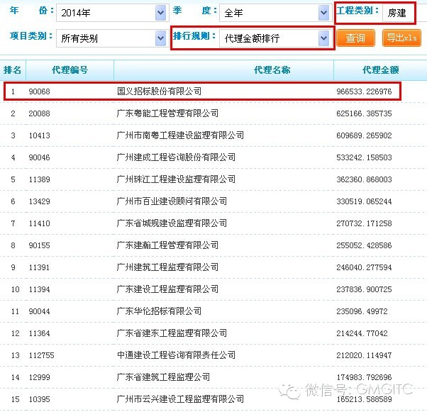
三、2014年年度房建代理金额排行

国义招标排行第一名

 

2014年年度铁路-城际轨道代理金额排行

国义招标排行第一名

 

2014年年度民航代理金额排行

国义招标排行第一名

 

2014年年度电力代理金额排行

国义招标排行第四名